|
This file is available on a Cryptome DVD offered by Cryptome. Donate $25 for a DVD of the Cryptome 10-year archives of 35,000 files from June 1996 to June 2006 (~3.5 GB). Click Paypal or mail check/MO made out to John Young, 251 West 89th Street, New York, NY 10024. Archives include all files of cryptome.org, cryptome2.org, jya.com, cartome.org, eyeball-series.org and iraq-kill-maim.org. Cryptome offers with the Cryptome DVD an INSCOM DVD of about 18,000 pages of counter-intelligence dossiers declassified by the US Army Information and Security Command, dating from 1945 to 1985. No additional contribution required -- $25 for both. The DVDs will be sent anywhere worldwide without extra cost. | |||
15 April 2003
Source: http://www.uspto.gov
This appears to be similar to the DMCA-content protection invention described in the New York Times today:
http://cryptome.org/dmca-kiss.htm
| United States Patent Application | 20020141582 |
| Kind Code | A1 |
| Kocher, Paul C. ; et al. | October 3, 2002 |
In an exemplary embodiment, digital content is mastered as a combination of encrypted data and data processing operations that enable use in approved playback environments. Player devices having a processing environment compatible with the content's data processing operations are able to decrypt and play the content. Players can also provide content with basic functions, such as loading data from media, performing network communications, determining playback environment configuration, controlling decryption/playback, and/or performing cryptographic operations using the player's keys. These functions allow the content to implement and enforce its own security policies. If pirates compromise individual players or content titles, new content can be mastered with new security features that block the old attacks. A selective decryption capability can also be provided, enabling on-the-fly watermark insertion so that attacks can be traced back to a particular player. Features to enable migration from legacy formats are also provided.
| U.S. Current Class: | 380/201 |
| U.S. Class at Publication: | 380/201 |
| Intern'l Class: | H04N 007/167 |

[0006] A variety of different technologies are known in the background art:
[0007] Access control policies: A wide variety of access policies, and methods
for specifying such policies, are known in the background art. For example,
the software protection system of U.S. Pat. No. 4,658,093 to Hellman uses
a straightforward authorization code issued by a publisher. In contrast,
U.S. Pat. No. 5,982,891 to Ginter et al. describes a variety of very complex
access rules involving a large number of participants. Standards for encoding
access policies (both for use with content distribution and other applications)
have also been proposed, such as PolicyMaker and the X.509 certificate format.
[0008] Anti-virus software: Methods for detecting and blocking known viruses,
Trojan horses, and other malicious code are well known in the background
art. These methods generally involve scanning for attributes of known viruses,
such as known instruction sequences. These programs can work in a variety
of ways, such as scanning files during start-up, scanning files on-the-fly,
scanning programs as they execute, scanning memory, scanning new media, scanning
network communications, etc.
[0009] Content protection systems and DRMs: A wide variety of content protection
systems (which are also sometimes called Digital Rights Management (DRM)
systems) have been proposed. DRM systems of the background art generally
provide for content to be distributed in encrypted form, then supply decryption
keys or perform decryption operations for legitimate purchasers. Many features
have been proposed or included in commercial DRMs, including support for
superdistribution (where encrypted content can be exchanged between users),
pay-per-use billing (including off-line pay-per-use with reporting via a
telephone line), variable billing rates (charging different amounts based
on promotions, number or duration of uses, requested user operations, user
history, etc.), protection for various data types (audio, video, text, software,
etc.), support for various formats, and support for various playback device
types (portable, set-top, computer-based with hardware assistance, software-only,
etc.)
[0010] Copy protection: Methods for copy protecting personal computer software
are known and are widely deployed for some kinds of software such as computer
games. These methods often involve binding a software program to physical
media that are designed to be difficult to copy (e.g., by intentionally
incorporating errors or nonstandard formatting that are difficult to replicate).
Other copy protection systems involve securing the installation process,
e.g. by requiring that users obtain an authorization code from a server.
In some cases, copy protection features are designed into a system. In others
cases (including copy protection systems used for computer software,
videocassette tapes, and audio CDs), copy protection is implemented by producing
media with nonstandard encoding that allows playback on most players but
will confuse most attempts to copy the media. A major design challenge for
copy protection systems is to minimize the impact on legitimate users (i.e.,
obtain high playability and user acceptance) while preventing undesirable
actions as effectively as possible (i.e., obtaining good security).
[0011] Cryptographic functions: A wide variety of basic cryptographic functions
are known, including block ciphers, hash functions, digital signature systems
(and other public key systems), key management systems, etc. For more information
about basic cryptography, see Applied Cryptography by Bruce Schneier.
[0012] Cryptographic oracles: Using block ciphers or other cryptographic
functions, it is possible to construct "cryptographic oracles" which apply
a secret cryptographic transformation to arbitrary externally-supplied input
messages and return the results. Cryptographic oracles can be constructed
so that it is computationally infeasible for an attacker who knows the oracle's
algorithms and protocols to determine the oracle's keys. In addition, because
the number of possible inputs to an oracle can be extremely large (e.g.,
2.sup.256 for an oracle constructed from a 256-bit block cipher), it is not
feasible for an attacker to anticipate or pre-compute the responses to random
queries.
[0013] Interpreters, emulators, and virtual machines: A variety of interpreted
computer languages are known in the background. Some interpreted languages,
such as Java, require a compilation process to convert source code into an
executable or interpretable form. In contrast, most BASIC interpreters operate
directly on the source code. Some interpreters allow self-modifying code,
while others do not. Technology for implementing interpreters and for emulating
assembly languages is also known in the background art. For example,
sophisticated emulators such as Virtual PC and SoftWindows can run programs
designed for Microsoft Windows on Apple Mac computers. Virtual machine (VM)
designs, such as those used for Java and JavaCard, are known, and it is also
known that VMs can interact with native code on the computer, or call other
VM functions in different memory spaces. (Many Java implementations provide
these capabilities.) Interpreted languages are commonly used for applications
or where cross-platform compatibility is required, such as for creating
processor-independent device driver formats. (See, for example, Writing FCode
2.x Programs, Sun Microsystems, 1993, page 5.)
[0014] Key management: A wide variety of methods for assigning and managing
cryptographic keys have been proposed. It is known that devices can have
device-specific keys, group keys, public keys, private keys, certificates,
etc. Keys can be assigned to individual devices, to selected groups of devices
(e.g. as described in U.S. Pat. No. 5,592,552 to Fiat), to all devices, etc.
Devices can contain a variety of keys of different types, including symmetric
keys, public keys (e.g., to verify certificates and digital signatures) and
asymmetric private keys.
[0015] Media: Media technologies are known that can offer tremendous storage
capacity, low manufacturing cost, and good durability. Examples of current
media technologies include optical discs (CD, DVD, etc.), magnetic media,
flash memory, and ROMs. Newer technologies, such as holographic memories,
are also being developed. It is known that a single piece of media can include
data of many different types. For example, a compact disc can contain standard
Red Book audio tracks as well as a data session for use on personal computers
(e.g., containing software, compressed bonus tracks, images, videos, lyrics,
etc.) Compact discs for use for use in personal computers can contain both
encrypted content as well as the playback software required to play the content.
[0016] Network communication: Sophisticated data networks, including the
Internet, are known. These networks can provide flexible, reliable,
high-bandwidth data communication. Although networks with a physical connection
usually provide higher bandwidth, wireless communication channels are also
popular.
[0017] Renewable security: In some cases, it is not practical to produce
a security system that is guaranteed to be able to prevent all possible attacks.
As a result, it is desirable that it be possible to renew security after
an attack, e.g. by discontinuing the use of any compromised keys and correcting
the vulnerability. Although renewable security is desirable, many deployed
and proposed systems lack any effective recovery mechanism for many kinds
of attacks.
[0018] Sandboxing: Sandboxing involves executing software programs in a
controlled environment where the program is unable to access any operations
that could damage the system. The Java "virtual machine" supports sandboxing
so that untrusted applets (such as those downloaded over the Internet) can
be executed.
[0019] Security modules: Many security systems employ removable security
modules so that the security upgrades can be performed without the difficulty
or expense of replacing other portions of the system. For example, removable
security modules are used in many pay television systems.
[0020] Software updates: Secure software updates can be performed by receiving
a proposed software update, verifying a digital signature or message
authentication code validating the update, then (if the signature is valid)
performing the update. For example, it is known that digital audio players
can receive code updates, verify digital signatures or message authentication
codes on the updates, and (if valid) update their code. Methods for ensuring
that updates are applied in the correct order (e.g., using sequence counters)
and for recovering from failed or unsuccessful updates (e.g., by reverting
to previous software versions or by activating special recovery code) are
also known. It is also known that software updates can be delivered via virtually
a wide variety of distribution mechanisms, such as the Internet, optical
media, ROM cartridges, etc. Software updates have been used to prevent pay
television piracy by distributing code updates with the signal to descramblers,
which apply and successfully execute the new code to compute the correct
decryption key for the next video segment. These updates are commonly used
to prevent unauthorized viewing by disabling or even destroying unauthorized
descramblers.
[0021] Steganography : Steganography involves hiding information in data.
For example, it is known that encrypted data can be placed in the
least-significant bits of an image or sound recording. An attacker who obtains
this image or recording but does not know the decryption key cannot even
determine whether there is any hidden data because low-order bits often appear
random and ciphertext produced by a strong encryption algorithm cannot be
distinguished from random data without the key.
[0022] Tamper resistance: Many methods are known for designing and constructing
devices that are resistant to attack. Tamper resistant hardware is commonly
used in systems where it is desirable to prevent attackers from reverse
engineering devices or extracting keys from cryptographic modules. For example,
Wave Systems markets a tamper-resistant microprocessor-based integrated circuit
product called "Embassy" which can be integrated with content players or
general-purpose computers and is advertised for use in securing the distribution
of digital content. Methods for implementing tamper resistant software have
also been proposed (see, for example, U.S. Pat. No. 5,892,899 to Aucsmith
et al.).
[0023] Traitor Tracing: Traitor tracing schemes have been proposed to identify
the source of compromises or attacks, typically by tracing keys used in
unauthorized devices back to a customer particular or compromised device.
[0024] Watermarking: Watermarks are signals embedded in content that can
be detected by a specialized detector but do not affect (or minimally affect)
human perception of the content when played. Watermarks embedded in pictures,
sound recordings, and images have been used by copyright holders to indicate
that copying is not authorized. "Robust" watermarks are known that can withstand
conversions between formats (including re-recording from analog outputs)
and provide varying degrees of security against attacks attempting to remove
the watermark. In contrast, "fragile" watermarks have little or no ability
to withstand format conversions but are easier to design and can carry more
information.
[0025] Although no anti-piracy system can completely prevent all possible
attacks, systems of the background art fail to provide practical solutions
to solvable problems such as casual piracy using digital-to-digital copying
or high-speed ripping of protected formats to unprotected formats. Significant
limitations of many systems of the background art include, without limitation:
[0026] Reliance on global secrets: Many protection systems require that
cryptographic algorithms, keys, and other information needed for decoding
be kept secret. As a result, the decoding process cannot be documented in
open standards documents without compromising the security of the system.
Also, if a large number of implementations are available, attackers can
potentially break the entire scheme by attacking the weakest implementation.
(Such an attack recently occurred with the DVD video protection system.)
While such systems are useful in closed single-vendor environments, they
cannot be standardized and do not provide effective long-term security.
[0027] Lack of standardization: Content publishers have already committed
to a variety of data formats and decryption algorithms that are incompatible.
Different content protection systems enable different business models, and
publishers who have committed to one model are likely to oppose any security
system that requires a different model.
[0028] Incompatibility with product types: Many security features cannot
be integrated with all product types. For example, downloadable software-only
players for personal computers cannot include tamper-resistant hardware.
Similarly, frequent software updates are difficult to deliver to players
lacking Internet connectivity.
[0029] User interface: Many proposals involve complex user interfaces. Security
should be invisible to honest users. Users are likely to reject schemes that
require explicit user involvement (e.g., to obtain or enter authorization
codes). In general, consumer electronics devices such as car stereos and
video disc players must be easy-to-use, since many users must be satisfied
even if they do not read documentation, are intimidated by technology, have
poor eyesight or other handicaps, or lack fluency in the languages supported
by the player.
[0030] Legal challenges: Some security systems require cooperation between
competitors. Such cooperation can be illegal due to antitrust regulations.
[0031] Lack of manufacturer benefit: Manufacturers will oppose security features
that increase player cost, time-to-market, prevent the inclusion of legitimate
features, or otherwise make their products less effective or desirable. Although
advances in semiconductor technology are decreasing the cost required to
implement security systems, effective tamper-resistant hardware remains difficult
and expensive to design and produce. As a result, content protection systems
that rely on manufacturers to produce good implementations will fail unless
they provide a real marketplace advantage to manufacturers whose offerings
are more secure.
[0032] Indefinite security policies: Effective security systems must specify
rules or other decision-making procedures for determining whether to allow
or prevent user-requested specific actions. In many systems, these rules
or procedures are not well specified.
[0033] Inflexible security policies: It is desirable for content protection
systems to have the flexibility to support different models for different
publishers, content types, jurisdictions, playback environments, etc. Systems
should offer the necessary flexibility without becoming too complex.
[0034] Weak long-term security: Security systems must be robust and flexible
enough to remain effective for a long time. Few content protection systems
of the background art could last more than a few years as part of a high-profile
format, while a popular format can last for more than 30 years.
[0035] Untraceability of attacks: If attacks do occur, systems should be
able to identify the source of the attack so that the compromised (or misused)
device can be revoked and so that criminals can be prosecuted.
SUMMARY
[0036] The present application relates to various embodiments, and aspects,
of a standardizable content protection system that can be implemented in
a manner providing flexible and renewable content protection across a wide
variety of interoperable platforms. The system provides participants
(manufacturers, publishers, artists, and/or consumers, etc.) with unparalleled
flexibility to make decisions about security and functionality.
[0037] An exemplary player usable with the system (i.e., a device that wishes
to decrypt or otherwise gain access to protected content) includes several
components. The first is a data or media input interface, such as for an
optical disc drive. To initiate playback, the player loads a sequence of
data processing commands from the input interface and begins executing these
commands using an interpreter or other execution module. This execution
environment preferably provides a Turing-complete language (one that can
execute any algorithm, subject to the player's memory, user interface, and
performance limitations). From the execution environment, the content can
query the player to determine the configuration of the playback environment
and to perform cryptographic operations using the player's keys. Content
can thus be designed so that playback will only proceed on players that provide
satisfactory responses to queries. Publishers can also provide limited playback.
For example, less secure platforms could provide CD-quality stereo audio
or regular-definition images, while more secure platforms could offer more
audio channels, high-definition images, higher sampling rates, and higher-quality
compression. Even after playback begins, playback can remain under the control
of the content's data processing commands. One exemplary embodiment includes
the capability to perform robust, essentially on-the-fly watermarking. Enabling
the content itself to control what data regions are played, makes it possible
to embed information in the output by selecting between output data versions
with tiny differences. Pirate copies can be traced back to a specific player
by analyzing these differences.
[0038] Because the content contains and enforces its own security policies,
attacks that occur can be addressed by designing and issuing new content
that is resistant. The flexibility afforded by allowing content to enforce
its own security policies also allows support for artists' preferences, regional
"fair use" regulations, etc. New player features can be added easily by adding
new content-accessible player functions.
[0039] From a business perspective, it is desirable that any content protection
system be usable to unite content publishers and consumer electronics
manufacturers in the common goal of providing the best possible security
consistent with their business and operational constraints. The systems disclosed
herein allow publishers to determine their own security requirements then
allow the content itself to implement policies that consider a wide variety
of factors and determine whether (or how) to play in each environment. Also,
manufacturers can be motivated to design products that offer good security
and do not facilitate piracy so that their customers will have the
broadest-possible access to content.
BRIEF DESCRIPTION OF THE FIGURES
[0040] FIG. 1 shows a media player using content protection methods of the
background art.
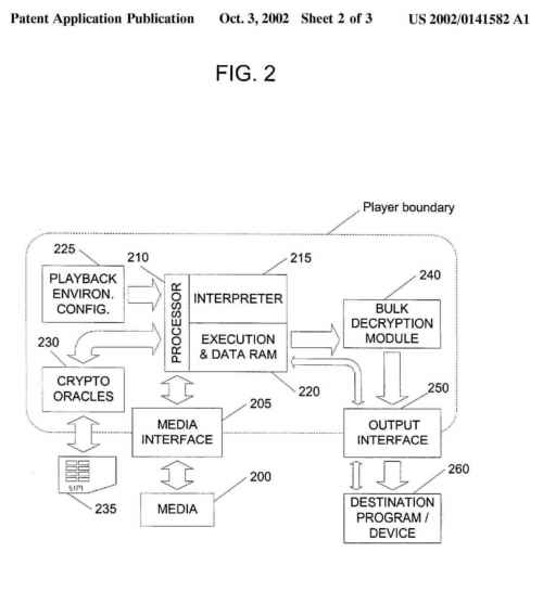
[0041] FIG. 2 illustrates an exemplary media player using content protection
methods disclosed herein.

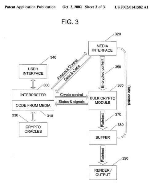
[0042] FIG. 3 illustrates the decryption portion of an exemplary embodiment.

DETAILED DESCRIPTION
[0043] FIG. 2 shows an exemplary embodiment of a player using physical media
200. The playback process is controlled by processor 210, which can access
media 200 via media interface 205. When media 200 is mounted (e.g., when
it is first inserted, or the system is re-initialized, etc.), processor 210
begins by initializing the media interface, reading the media's table of
contents, and recognizing the protection system supported. If so, the processor
loads a small initial portion of media 200 into execution and data RAM 220.
[0044] Using interpreter 215, processor 210 begins performing the data processing
operations specified by the loaded media portion. Interpreter 215 provides
a set of predetermined data processing operations from which more complex
tasks can be accomplished. The interpreted language is preferably
Turing-Complete. Turing-Complete programming languages are characterized
in that algorithms implementable in one such language can be implemented
in any other, and the implementations will have similar asymptotic performance
characteristics. Examples of Turing Complete programming languages include
without limitation C, C++, BASIC, Fortran, Pascal, Java, and virtually all
assembly languages.
[0045] The loaded portion proceeds by invoking procedure calls provided by
interpreter 215. Although the initial data loaded into RAM 220 may be relatively
small, code running on interpreter 215 can load additional data (including
code) from the media via procedure calls, thereby allowing more complex
operations to be performed.
[0046] Other procedure calls allow the content to determine the playback
environment configuration 225. The content can thus analyze the playback
environment characteristics (e.g., player type, requested user action, etc.)
to determine if playback should proceed. In an exemplary embodiment, if
correctable problems are detected (e.g., if the media contains a security
firmware upgrade for the player), these can be addressed. If supported, the
content can also query output interface 250 and, if supported, destination
program/device 260 (e.g., amplifier, digital speakers, speaker driver, etc.)
to check security characteristics, load cryptographic keys, specify output
parameters (e.g., to specify reduced output quality if security is uncertain),
etc.
[0047] In an exemplary embodiment, the content can also query cryptographic
oracles 230, which may be implemented in an external removable security module
235 (such as a smart card, etc.) to allow for security hardware upgrades.
Oracles can also be implemented, without limitation, in processor 210, other
hardware in the player, in media, in attached devices such as speakers, etc.
Cryptographic oracles 230 can provide the content with verifiable proof of
the player's identity. Results from queries to oracles 230 can be used in
decrypting subsequent content or code portions, thereby providing strong
cryptographic assurance that players lacking valid keys (or whose keys are
revoked) cannot decrypt the content.
[0048] In an exemplary embodiment, the interpreter executes the data processing
commands specified by the content in a "sandbox," meaning that the content
does not have access to cryptographic secrets (such as oracle keys) that
could otherwise compromise the player. Sandboxing is useful where not all
content is necessarily trustworthy. For example, an attacker could try to
produce malicious content that attempted to extract the cryptographic keys
from players. (Additional information about exemplary cryptographic oracles
and their operation is provided below.)
[0049] If the content determines that playback should not proceed (for example
if a user is attempting to make a copy and the content is configured to prohibit
copying), the content can report an error and reject the requested action.
Alternatively, the content can control the rendering and/or output processes
to reduce the quality of the output so that unauthorized copies will be degraded
and therefore less attractive.
[0050] If the content determines that playback should proceed, the content
then awaits a signal from the player specifying that playback should begin
from a specific location on the media (e.g., a particular track). Interpreter
215 processes the request using the data processing instructions loaded into
execution/data RAM 220 when the media was mounted. If the content decides
that playback should proceed, it uses procedure calls to direct media interface
205 to begin loading encrypted content from the appropriate location on media
200. The content specifies valid decryption keys and parameters to bulk
decryption module 240, which retrieves the encrypted content from RAM 220
(or, alternatively, directly from media interface 205) and decrypts it. The
decrypted content is then supplied to output interface 250, which converts
it to the appropriate analog or digital format for destination program or
device 260. As playback continues, the data processing instructions being
processed by interpreter 215 can load new decryption parameters, specify
new blocks of data to read from media 200, etc. When playback completes,
the content can re-initialize the RAM 220.
[0051] Additional information is provided in the following sections about
the interpreter, the playback system, and other embodiments and aspects.
Responding to Attacks
[0052] Anti-piracy systems implemented widely in software and in low-cost
consumer electronics devices cannot prevent all possible attacks. The techniques
disclosed herein are usable, following an attack, to facilitate mastering
new content in ways that substantially block the existing attacks. While
professional pirates may try to continuously seek out and install new
circumvention systems, casual piracy will involve an ongoing struggle to
develop and maintain attack tools and will hopefully therefore be more difficult
than simply purchasing content legitimately. The following sections describe
how the techniques described herein can be used to address some common attacks.
[0053] A first category of attack involves attempts to use uncompromised
players to perform unauthorized actions. For example, content can be mastered
to allow copying from original media but disallow copying from copies. If
an attempt is made to copy such content from a copy (which the content could,
for example, recognize by detecting modifications inserted during the copying
process or by comparing the current media's serial number and/or type with
the original), playback can be blocked by the interpreter code. Alternatively,
the interpreter can allow content to play with reduced fidelity (such as
playing stereo audio with a 44.1 kilohertz sample rate even though multi-channel
audio with a higher sample rate might be available), or by inserting additional
anti-piracy warnings. Thus, by analyzing information provided to the interpreter,
inappropriate user requests can be detected and handled on non-compromised
players.
[0054] A second category of attack involves compromise of a player's
cryptographic keys. If a player's cryptographic keys have been compromised,
an attacker could (at least in theory) emulate the compromised playback
environment completely by emulating the cryptographic oracles and (optionally)
providing false responses to queries about the playback environment. Security
can be re-established after such an attack by making the interpreted code
in future content require at least one cryptographic key that was not present
in the compromised device. If a particular player model or manufacturer is
the source of many attacks (e.g., because the player implementation has
inadequate security), publishers can create content that will not play (or
will play at reduced quality) on such platforms.
[0055] A third category of attack involves compromising a particular piece
of content or a group of titles containing similar interpreter security code.
Such attacks could potentially be mounted by modifying the content itself
to bypass security checks or by producing a malicious interpreter tailored
to play the target title. Such attacks can be addressed by deploying different
or better protection software in future content.
[0056] A fourth category of attack involves copying content from protected
media to unprotected formats, then redistributing the content in the new
format. No content protection system can completely prevent such attacks,
but the techniques and systems disclosed herein provide for powerful, flexible
watermarking capabilities that can be used to trace a compromise back to
a particular device which can then be revoked to prevent future attacks.
Because the number of users who actively upload content for piracy is relatively
small, piracy can be reduced significantly by identifying and revoking these
users' players. Imperceptible differences can be introduced in the decryption
output by selectively skipping portions of the ciphertext. For example, in
an exemplary embodiment, the content can watermark a "zero" bit by directing
the player's decryption module to decrypt and output a first ciphertext portion
then skip a second ciphertext portion. To watermark a "one" bit, the content
can direct the module to skip the first ciphertext portion and output the
second one. By encoding a series of such bits, the content can be watermarked
with any data available to the interpreter code, including without limitation
the identity of the player, results of cryptographic operations, user action
descriptions, output device information, etc. If a pirated copy of the content
is discovered, the watermarks can be analyzed to trace the illegal copy back
to a single player, which can then be revoked in future content releases.
This capability is also useful for law enforcement and forensic purposes,
since it is possible to prove with certainty that a particular copy originated
from a particular player. Features for tracing copies can also serve as a
disincentive to piracy since people considering making illegal copies will
be discouraged by the knowledge that they could be identified, caught, and
prosecuted.
[0057] Of course, no consumer-friendly anti-piracy system can reliably prevent
all possible attacks in all environments. For example, audio and video can
be recorded from analog outputs. (Even if watermarks are embedded in content,
recorders without watermark detectors are available.) Data captured from
analog outputs can then be re-mastered onto new digital or analog media and
redistributed without the original's security features. Similarly, copies
made by professional pirates who have equipment required to make exact copies
of media cannot be detected by the player, but the techniques and systems
disclosed herein can help to prevent media cloning. For example, disc
manufacturer identifiers on media can be checked by content to ensure that
honest or careless duplicating facilities will not be duped by pirates. Media
type identifiers can prevent content sold on read-only media from being
redistributed on recordable media. For players with Internet, telephone/modem,
or other network support, content can (for example) obtain authentication
from a server prior to playback (or the first playback) to validate that
the media is valid. Players with nonvolatile storage can even store a table
of known-bad media serial numbers, which the content and/or player can query
to determine whether the media has been revoked.
Querying and Controlling the Playback Environment
[0058] The content can be configured to decide whether it will allow itself
to be decoded. To assist with this decision, the player can provide the content
with information about the playback environment. Although very limited
information (such as the user's requested action and the player model) may
be adequate in many cases, more detailed and accurate information is desirable
so that the content can make a more informed assessment as to whether playback
should proceed. Although the specific information and capabilities provided
to the content depend on the player implementation, the following describes
(without limitation) some exemplary functions and capabilities that can be
provided to content. Note that for players constructed out of multiple connected
components (such as output ports, connected output devices, operating system
device drivers, security modules, etc.), some or all of the following information
may be provided for these connected as devices as well as the main part of
the player containing the interpreter.
[0059] Security Support Information: Security specification version, supported
query functions, and/or security module form factor (replaceable hardware,
embedded hardware, updateable firmware, ROM firmware, PC software, etc.),
etc. (Exemplary cryptographic processing functions and playback
control/decryption functions are discussed in detail below.)
[0060] Manufacturer Information: Name, identifier, web site, public
key/certificate, manufacturing batch, manufacture date/time, region of
manufacture, country of manufacture, manufacturer address, technical support
contact information, and/or manufacturer warranty information, etc.
[0061] Device Information: Product line, serial number, model number,
firmware/software versions, device public key/certificate identifiers, GPS
location or other physical location/region, content supported Codec types,
network/Internet support information, network addresses, device telephone
number, IP address, watermark support, interpreter performance ratings, security
certification ratings, device distributor(s), device retailer, device form
factor, and/or security specifications, etc.
[0062] User Information: User name, geographical region, country, address,
GPS location or other physical location/region/country/etc., user telephone
number, IP address, e-mail address, web address, preferred language, tolerances
for controversial material, preferred payment methods/accounts, payment limits,
purchase history, and/or privacy preferences, etc.
[0063] Media Control: Query media format, recordable vs. non-recordable,
media serial number, recording device type, recording device owner, recording
device serial number, recording device security information, and/or recording
device watermark-checking capabilities, etc. Functions can also allow reading
from media, writing to media, formatting media, testing media, and/or ejecting
media, etc. Additional functions can provide access to cryptographic functions
or other special capabilities supported by particular media formats.
[0064] Requested User Operation: For example, play, record, translate to
new format, load to portable device, make first copy, make multiple copies,
and/or simultaneous play/record, etc. The content can also be given the ability
to initiate or modify requested operations.
[0065] Output Information: Information about output ports, output port
configurations, output port security characteristics, connected devices,
output data format, and/or output data quality/resolution, etc. If supported,
content can directly query output devices, to obtain additional information
about the device, and/or request cryptographic operations, etc. The player
can also allow the content to modify these parameters, for example to specify
reduced-quality output if security is poor.
[0066] Environment: Identities/hashes/versions of other running programs
and device drivers on the platform; contents or hashes of memory; versions
of installed attack detection modules; results of system scans for attacks,
and/or status of tamper detectors, etc. These functions can also allow the
content to modify memory, e.g. to correct security weaknesses in other programs.
[0067] Time: Date, time, time zone, elapsed clock cycle count, time since
last reset, time since manufacture, time since last security upgrade, time
since last battery change, and/or estimated battery life remaining, etc.
[0068] Connectivity: Determine player communication capabilities, check current
connection status, establish network connections, establish modem connections,
specify criticality of establishing network connections, check/specify connection
security characteristics, transmit data, receive data, close connections,
and/or idle connections, etc.
[0069] User Interface: Display user messages, display lyrics, display graphics
images, print graphics images, display advertising/promotional messages,
identify available user interface controls, obtain user input, play speech
to the user using a player's speech synthesizer, and/or error reporting,
etc.
[0070] Watermark Control: Select content regions to output, select external
watermarking algorithms, control external watermark detectors, and/or check
mark detector status, etc.
[0071] Other: Player/playback status information, pay-per-play billing control
(e.g., player-based finding sources), error handling, playback termination,
secure nonvolatile memory support (see below), apply player firmware update,
and/or invoke external modules (such as dynamically linked libraries), etc.
[0072] Some standardization of functions and parameters is useful to ensure
interoperability between implementations (e.g., so that content can function
effectively in player environments designed after the content was originally
published) and to simplify the task of authoring secure content. Standardization
is particularly helpful for functions where a variety of different manufacturers'
products should provide the same types of information or operations. For
example, a function and response codes to allow the content to determine
the player form factor (home audio/video, portable, automotive, personal
computer software-only, personal computer software with hardware assistance,
professional studio, movie theater, etc.) can be standardized. Standardization
has the additional benefit of preventing manufacturers from trying to avoid
security controls by reporting pertinent risk-related information in nonstandard
formats that pre-existing content cannot understand.
[0073] Of course, the system may also be configured to allow for manufacturers
to add additional proprietary functions for use by content producers who
choose to use them. The ability to add new functions is particularly valuable
for manufacturers who wish to add new features to their products, since they
can add these features, then establish co-operative business relationships
with content publishers to support the features. Such an embodiment can be
extended easily while (if desired) maintaining backward compatibility.
[0074] Manufacturers are responsible for providing accurate information to
the content. While the content generally cannot directly verify the accuracy
of much of the information it receives, this is not strictly necessary where
manufacturers have strong incentives to ensure that this information is correct.
For example, publishers could prevent their future content from playing on
products made by dishonest manufacturers.
[0075] Although it can be beneficial if players provide cryptographic
authentication of information they provide to the content (e.g., by including
digital signatures issued using certified player or manufacturer keys), such
authentication is not mandatory for most data. For output devices (such as
digital speakers requesting high-quality digital audio data) or other portions
of the system that connect via potentially untrusted interfaces, cryptographic
authentication is more important so that malicious devices that impersonate
trustworthy devices can be detected and avoided.
Cryptographic Processing
[0076] In addition to providing information describing the playback environment,
an exemplary player also implements cryptographic operations that can be
invoked by the content. These operations can behave like cryptographic oracles,
allowing the content to supply an input datum (for example, a 64-bit plaintext
block) and returning the result of a cryptographic computation. In an exemplary
embodiment, the inputs to the cryptographic computation include at least
a key (whose value is normally unknown and inaccessible to the content) and
the content-specified input datum.
[0077] The following are (without limitation) examples of cryptographic
primitives that can be provided to the content for uses including (without
limitation) authenticating the playback environment, deriving content decryption
keys, etc.:
[0078] Block cipher oracles: The oracle encrypts (or decrypts) an input message
using a secret key, producing a ciphertext (or plaintext) result.
[0079] Hash function oracles: The input message is hashed, typically with
a secret key (for example using an algorithm such as HMAC-SHA), to produce
the result.
[0080] Digital signature oracles: The input message is digitally signed using
the secret (private) key to produce the result. The function can also provide
the public key and its certificate(s) to the content.
[0081] Random number generators: Random number generators can provide the
content with unpredictable information, for example to use in preventing
replay attacks in on-line connections.
[0082] Mathematical functions: Basic mathematical operations can be provided
to help the content optimize its computation processes. For example, optimized
modular multiplication or exponentiation functions can be used by the content
to perform the RSA algorithm of U.S. Pat. No. 4,405,829 to Rivest et al.
to produce and verify digital signatures and to encrypt and decrypt messages.
[0083] Optimized cryptographic primitives: Optimized implementations of standard
cryptographic algorithms can help improve performance. These operations can
be used to help decrypt or hash blocks of data, including without limitation
regions of the interpreter code space or sectors of content loaded from media.
[0084] Decryption control: If the content decides that playback is authorized,
the interpreter code can initialize the content decryption module with the
correct decryption key for each segment of content. In addition, the interpreter
code can specify portions of the content that should be rendered or skipped
(e.g., to allow real-time watermark insertion during playback). To ensure
synchronization between the interpreter and content streaming from media,
key changes (or skipped regions) can be specified in advance then triggered
by signals in the content. For example, an exemplary embodiment could allow
the content to specify a 64-bit value that triggers a key change when encountered
in the ciphertext, the number of ciphertext bytes to skip following a key
change, and the new key value to use.
[0085] Key management: These functions allow the content to determine which
keys are known to the player.
[0086] In an exemplary embodiment for cryptographic oracles whose operations
do not incorporate random parameters or other such variable data, the system
can be configured so that expected result for a particular input can be computed
in advance (e.g., when the content is mastered). The publisher can thus program
the content to submit a chosen input to the oracle, then verify that the
expected result is obtained. Malicious players that lack authorized cryptographic
keys will be unable to compute the correct oracle response. Because the number
of possible oracle inputs is enormous (e.g., 2.sup.128 for an oracle using
a block cipher with a block size of 128 bits), it is not practically feasible
for an attacker to precompute or store the results to all possible queries.
[0087] In addition to validating valid players, cryptographic oracles can
also be used to identify invalid players. For example, if keys extracted
from a legitimate player are being used for unauthorized purposes, content
can be mastered so that it will refuse to play on players that contain the
revoked oracles. Because content will not play without valid keys, unauthorized
players must include stolen keys. However, by using these stolen keys,
unauthorized devices reveal their status to new content that is aware of
the compromise.
[0088] A wide variety of methods can be employed for incorporating oracle
results or checking whether a particular oracle query response is valid.
The simplest is to simply perform a comparison against an expected value.
Because this can (at least in theory) be circumvented by a maliciously-designed
interpreter that behaves as though all comparisons match, content can include
"dummy" comparisons that are expected to fail or other such tests designed
to thwart malicious interpreters. The oracle itself can also be used to decrypt
code or influence self-modifying code. For example, the input to the oracle
can be an encrypted version of the desired code. Depending on their
configuration, such oracles thus allow content publishers to include on media
code that can only be decrypted by authorized players or a subset of players,
thereby helping to keep the content's code away from potential attackers.
Another way to use oracles is to use their outputs as cryptographic keys
or to derive keys. These keys can then, for example, be used to decrypt code,
content, other keys, or any other data. This flexible decryption capability
can be used to implement a wide variety of protocols and policies in content.
For example, if players have an adequate assortment of keys, content can
be programmed to use schemes such as the method of Fiat and Naor (see A.
Fiat and M. Naor, "Broadcast Encryption," Advances in Cryptology, Douglas
Stinson, editor, p. 480; Springer Verlag, 1993.). Even sophisticated access
control systems, such as those described in U.S. Pat. No. 5,982,891 to Ginter
et al. can be implemented if desired (provided, of course, that the player
provides the necessary user interface, network, data storage, and cryptographic
functions).
[0089] For mastering content, publishers may benefit from having access to
oracle input/output pairs. In the case where the oracle uses a private key
for an asymmetric cryptosystem such as RSA, the publisher simply obtains
the public key and uses it to perform the inverse of the oracle operation.
For a symmetric oracle constructed using block cipher, player manufacturers
can compute for publishers inverses of the symmetric oracles provided in
each player. For example, if the player oracle uses a block cipher to decrypt
256-bit data blocks under a secret key, the manufacturer can provide publishers
with access to the corresponding encryption function. Because access to the
inverse-oracle does not allow the oracle to be compromised, manufacturers
could (for example) provide the inverse-oracle computation via a
publicly-accessible web server using SSL. Manufacturers could also provide
publishers with outputs from randomly-selected oracle inputs. (Although
manufacturers could provide publishes with actual oracle functions as implemented
in players, these functions could potentially be misused to construct
unauthorized players that emulate of legitimate ones.)
[0090] The specific methods used to assign keys to players and manufacturers
depends on the specific embodiment and security objectives. For example,
in one exemplary embodiment, players are assigned a variety of symmetric
cryptographic oracle keys, including (without limitation): player symmetric
keys chosen (pseudo)randomly from a larger global pool of such keys;
player-specific symmetric keys generated (pseudo)randomly by the manufacturer;
symmetric keys unique to the manufacturer, player model, etc.; and/or symmetric
keys authenticating that the player does not have particular characteristics
(e.g., was not produced by particular manufacturers). In this exemplary
embodiment, the content can identify which keys are implemented in the player
by calling a separate function that returns a list of the supported keys.
Players can also contain asymmetric keys. For example, in the exemplary
embodiment, players have a player-specific public/private keypair; a player
certificate issued by the manufacturer by signing the player public key using
the manufacturer's private key; a certificate issued by a root key issuing
authority validating the manufacturer's public key; a public key used to
validate requests to access the player's secure memory areas (see below);
and/or a public key used to validate player firmware updates.
[0091] In infrastructures involving multiple player manufacturers, it may
be helpful to have one or more central administrative organizations manage
keys for players, manufacturers, etc. Central administrators can also be
helpful for enforcing minimum security standards, ensuring that players provide
accurate information to content code, reserving keys for new manufacturers
(so that that their products will be able to play old content), tracking
compromised keys, performing cryptographic oracle operations for content
publishers, etc.
Secure Memories and Counters
[0092] The memory available to content is typically volatile, providing content
with a "clean" execution environment each time it is run. For some features,
however, it is useful for content to be able to store data between playings
and between titles. To satisfy this need, players can provide content with
secure, nonvolatile storage for maintaining state between playings. Such
storage can require additional security protections to ensure that only
authorized interpreted code is able to read or modify the nonvolatile memory
contents. Ensuring the security of nonvolatile memory is important for publishers
so that, for example, this memory can be trusted to track offline pay-per-view
viewing histories for later billing. It is not adequate to simply have a
key on the media for unlocking each memory slot, since this key would soon
be discovered by pirates, compromising the memory slots of all players. Thus,
one embodiment provides for explicit cryptographic authentication of the
code that accesses these secure nonvolatile memory regions.
[0093] In this embodiment, players contain several blocks of nonvolatile
memory, which are locked (i.e., read and write permissions are denied) by
default. The player also contains a public key used to authenticate requests
to unlock memory blocks. To gain access to this memory block, the content
calls a function that takes as input a digital signature over the block of
code that is authorized to access the memory. This signature is verifiable
using the public key embedded in the player and specifies the memory block
to unlock and the access privileges authorized (arbitrary read, arbitrary
write, increment, decrement, zeroize, etc.) within each portion of the block.
The interpreter verifies the digital signature and, if the signature is valid,
unlocks the memory and executes the digitally-signed code. The following
shows an example of this process for use in billing for off-line pay-per-use
content with occasional (e.g., monthly) auditing:
[0094] (a) Publisher X negotiates with player manufacturer Y rights to control
a 4-byte counter in the nonvolatile memory of manufacturer Y's players.
[0095] (b) Publisher X writes a function for the interpreter that checks
the memory contents. If the value is below a spending limit, the function
increments the counter. Otherwise, the function establishes an Internet
connection with the publisher, transmits a payment request including the
counter value, a random number, and payment information (such as a credit
card number or other funding source stored in the player). If the publisher
accepts payment for the past purchases indicated by the counter plus the
current purchase, the publisher transmits to the player a cryptographic
authorization to clear the counter, which the player verifies and (if valid)
zeroes the counter. The player concludes by relocking the memory and returning
a code indicating success or failure.
[0096] (c) Manufacturer Y digitally signs the memory-update code with parameters
identifying Publisher X's memory regions, access privileges, etc.
[0097] (d) Publisher X produces content including the signed code and distributes
it to a user.
[0098] (e) The user's player begins loading the content, which presents the
user with a purchase option. If the user declines to purchase, playback does
not proceed.
[0099] (f) The content calls the memory unlock function with pointers to
the code written at step (b), and the digital signature produced at step
(c).
[0100] (g) The memory unlock function attempts to perform the purchase as
described in step (b) and reports success or failure.
[0101] (h) If the purchase was successful, the content plays for the user.
Otherwise, playback terminates.
[0102] Of course, much more sophisticated purchase mechanisms can be employed
using the secure counter mechanism described above. The only real limits
on what can be implemented in the content come from the player's capabilities
and the publisher's creativity.
[0103] Various storage technologies can be employed with the systems and
techniques disclosed herein, including without limitation, flash memory,
magnetic storage (e.g., hard disks), battery-backed RAM, etc. (A wide variety
of methods are known in the background art for providing nonvolatile storage
and for encrypting or otherwise securing such storage.) Secure storage can
(without limitation) be located outside of the player, including without
limitation in a removable module (such as a smart card), in attached output
peripherals (such as speakers, displays, remote devices in a home network,
etc.), remotely over a computer network, etc. Memory block assignment can
be provided, for example, on a space-available basis, guaranteed (e.g., by
slot number), or allocated/recycled based on priority. Because the clearing
or freeing of memory slots could result in the loss of unreported pay-per-view
records, content can be given the ability to specify the conditions under
which slots can be over-written. For players that can play multiple titles
simultaneously but that have only one set nonvolatile memory slots, a locking
mechanism may be required to ensure that one piece of content will access
a slot that is being modified by another piece of content.
[0104] In one embodiment, a pre-paid smart card is purchased by a consumer
and inserted into a slot on the player. The card contains a plurality of
write-once memory slots into which the player can write identifiers corresponding
to pay-per-view content titles. Once written, the content identifiers are
incorporated into cryptographic oracle computations implemented in the card.
Thus, content can verify that a purchase has been consummated by verifying
that the correct oracle is present before allowing playback.
[0105] Note that the general approach described above for authenticating
calls to player as functions is not limited to use with secure counters.
For example, the same approach can be used to secure access to special player
features only available to authorized publishers. The approach also has
applicability separate from other aspects of the techniques and systems disclosed
herein, as it provides a general-purpose but extremely flexible method for
securing access to computation functions.
Cryptographic vs. Language Based Security Features
[0106] Security policies can be enforced in several different ways. Cryptographic
protections allow the construction of content such that revoked or unauthorized
players will lack the cryptographic keys necessary to decrypt the content.
Unauthorized players cannot access content which they lack keys (provided,
of course, that good ciphers are used). This approach is relatively inflexible
since it provides the content owner with only the ability to block playback
on a particular device. (While a more sophisticated embodiment could use
different key sets to offer somewhat more detailed control, key-based controls
lack the flexibility required to solve more complex access control challenges.)
Nevertheless, it is extremely effective at addressing the case where a particular
player is compr
mised or otherwise deemed untrustworthy to have the ability to decrypt the
content.
[0107] In contrast, language-based controls are less effective in the case
where a player is compromised (or totally untrusted for some other reason),
but can enforce extremely sophisticated security policies. As noted previously,
the content can analyze the playback environment and call to cryptographic
oracles and, if the results are deemed unsatisfactory, refuse to play. This
approach provides virtually unlimited flexibility, making it ideally suited
to managing risks involved in playback on players that generally behave honestly
but may support operations (such as ripping to unprotected formats) that
some publishers may wish to prevent on certain content. Although attackers
could, at least in theory, analyze and break individual pieces of content
(particularly if the content's code is poorly-written), these attacks cannot
be generalized and can be reliably addressed through careful use of the
cryptographic oracles. Furthermore, the decryption control capabilities described
herein enable publishers who observe pirated copies of their content to identify
the compromised device and produce new content that it is not vulnerable.
Evolution
[0108] It is desirable to provide content owners with a distribution
infrastructure that remains secure over the long term. Previous content
protection systems have failed terribly in this regard; while implementers
may initially be diligent about security as they woo content owners to a
new format, security levels tend to fall significantly once a format's success
is ensured. A variety of factors contribute to this decline, including:
availability of more implementations to attack (increasing the likelihood
that an easily-broken product will be sold), increased demand for piracy
as more protected content becomes available, and increased sophistication
of attackers. Exemplary embodiments of the systems and techniques disclosed
herein can be configured to allow content owners to continue to specify how
their content will be protected even after a media format has been standardized,
while allowing virtually unlimited renewability so that security is not lost
forever if an attack is found.
[0109] If security policies are not static, manufacturers have an ongoing
long-term incentive to provide effective security. For example, content owners
can have the ability to block playback (or prevent high-quality playback)
on devices whose keys are compromised or on products that are commonly used
for piracy. As a result, unlike traditional systems, product manufacturers
cannot sacrifice security as they compete to offer their products at the
lowest possible price, since consumers will also seek out products that have
robust security because these will offer the best and most reliable playback
experience.
[0110] Even a well-intentioned manufacturer may accidentally produce a product
that is later found to have security flaws. Accordingly, we disclose a variety
of methods that can be used to respond to compromises and security weaknesses.
For example, player cryptographic keys and software can be updated using
digitally-signed code or key updates. These updates can be delivered to the
player on media containing software that performs the key update. For example,
if a legitimate user's player ends up being revoked because a previous owner
compromised its security, the new owner can call the product's technical
support line and obtain new keys. (Of course, the customer service personnel
may wish to obtain some user information such as name, address, credit card
number, telephone number, e-mail address, IP address, etc. to discourage
pirates from calling to request new keys for unauthorized purposes.) Updates
can also be distributed via the Internet (or other network connections),
modem calls, entry via the remote control or keyboard, etc. Of course, updates
should be cryptographically secured whenever possible so that attackers cannot
use the update process to inject compromised keys or otherwise attack a player.
[0111] Another way that manufacturers can reduce the consequences of a compromise
is to include a removable security module, such as a smart card. The smart
card would implement some or all of the cryptographic oracles as well as
other security-related functions provided to the content. If a compromise
does occur or if a security flaws is found, it is possible to replace the
smart card instead of replacing or upgrading the entire player. Note that
it may be sufficient to simply provide a smart card slot, but not deploy
smart cards until such time as it becomes necessary for security reasons.
To prevent smart cards from being removed from legitimate players and used
in malicious ones, the smart card can be cryptographically linked to the
receiver (e.g., by having them share a symmetric key) before the player and/or
card are sent to the consumer.
Mastering & DRMs
[0112] Any new costs involved in mastering content are a legitimate concern
for content owners. The techniques and systems disclosed herein can be deployed
so as to avoid significant new costs to the mastering process, if simple
security measures are employed. While developing content that enforces complex
security policies obviously requires more development and testing effort,
this expenditure is entirely optional. (Other protection systems simply eliminate
this choice, forcing all content publishers to use the same security systems,
policies, etc.)
[0113] Of course, publishers do not need to develop security systems themselves
since the systems and techniques disclosed herein also permit third party
DRM vendors to provide security modules and mastering systems. These vendors
would compete for publishers' business by offering the best features, best
security, lowest cost, greatest flexibility, best ease of use, best performance,
smallest code size, most extensive revocation lists, etc. The techniques
and systems disclosed herein can serve as a platform where content owners
have the ability to make their own decisions about security.
Watermarking & Compromise Tracing
[0114] With most conventional watermarking methods, the mark detection process
is standardized and implemented in a large number of widely deployed products.
This static algorithm unfortunately poses a serious risk, since knowledge
of the detection algorithm generally allows attackers to remove the watermark
without seriously degrading the content. In an exemplary embodiment, the
systems and techniques disclosed herein may include on-the-fly watermark
insertion that is not susceptible to a general mark removal attack because
the mark format, encoding process, and detection process are all chosen by
the publisher.
[0115] In one exemplary embodiment, a publisher (or, more precisely, a control
program written by the publisher) wishes to embed some information in some
output content. Each bit of this information can be encoded by decrypting
and outputting either a first content portion or a second portion. These
portions can be different encrypted regions on the media and can be encrypted
with different keys. The differences between these portions can be chosen
by the publisher when the content is mastered, and can be anything from
imperceptibly-subtle variations to total dissimilarity. Because there is
no predetermined relationship between the two portions, there is no way for
a pirate who knows only one portion (including the decryption key for that
portion) to determine the other.
[0116] Because cryptographic and program-based controls can be used to select
which regions are decrypted, attackers cannot determine what the alternate
region(s) contain. Indeed, content can be designed so that attackers cannot
even identify whether alternate regions are present, for example by encrypting
the control code (so that different players use different code) and by including
dummy regions that no players or only a very small number of players can
decrypt.
[0117] In one exemplary embodiment, content is authored so that only a subset
of all players have the keys necessary to decrypt each version of a region
of the content, yet substantially all players have the keys necessary to
decrypt at least one version of the region. Thus, by analyzing an unauthorized
copy of this region, the publisher can determine information about the attacker.
Note that this is true even in the case where attackers manage to analyze
a (vulnerable) program and decrypt more than one alternate region, since
the resulting combination of several regions still reveals to the publisher
which versions were decrypted. Ultimately, the only way reliable way that
users can avoid revealing their identity (or their player's identity) to
publishers' anti-piracy enforcement experts is to refrain from participating
in piracy in the first place.
[0118] This general marking approach is different from conventional watermarking
because the mark detection process need not be standardized. This difference
allows vastly greater security; indeed, it can be shown that there is no
general attack against this marking scheme. Furthermore, because the watermarked
bits produce differences in the output, these watermarks can be extremely
robust and can be designed survive digital/analog conversions, editing, format
conversions, malicious attacks, etc.
[0119] The decision of how to configure and use the content marking capability
is typically made by the publisher. Some artists may wish to avoid to any
technology that could make any modification, however small, precluding the
use of the watermarking feature on their work. In other cases, certain types
of content are pirated widely and are good candidates for very aggressive
use of marking capabilities. While portions would normally be chosen to have
only imperceptible differences, the choice of what alternate versions to
encode, how to select between possible output versions, and the management
of the decryption keys for these portions is controlled by the content. Because
the marking capability is controlled by data processing instructions integrated
with the content, the technology can be used for other features including,
without limitation, implementing a sweepstakes where winners' players output
a congratulatory message, delivering of security alerts to users whose players
offer inadequate security, and providing bonus content to certain users.
[0120] Of course, other watermarking schemes can also be used with the techniques
and systems disclosed herein. For example, traditional watermarks (for which
the mark detection algorithm is standardized) can be embedded in output as
well, either by the content's code or by external watermark embedding circuitry
(which may or may not be under the control of the content). Similarly, watermarks
in incoming content can be sensed (again, either by the content's code or
by external detectors), for example to detect attempts to make unauthorized
copies or introduce unauthorized content. The choice of what watermarks to
embed and how to respond to detected watermarks can be implemented in the
player and/or in the content.
Example Migration Path: CD-Audio
[0121] The vast majority of digital content is distributed today in unprotected
or minimally-protected formats. For example, the CD audio standards contain
no anti-copying features, and the protection scheme in DVD video has been
widely broken. Because legacy media players do not support adequate security,
they need to be upgraded or replaced. The success of a new security system
depends on establishing a critical mass of compatible players.
[0122] By combining the techniques and systems disclosed herein with existing
methods for producing copy protected CDs, it is possible to produce CDs that
are backward compatible. Such CDs would utilize non-standard CD formatting
to produce discs that play correctly on most audio CD players but confuse
computer-based ripping software. Authorized (e.g., licensed) personal computer
software can also play the disc by correcting the portions that are read
incorrectly or otherwise confuse the computer. Thus, playback is enabled
on (most) legacy audio players because they can play the non-standard (copy
protected) Red Book audio portion, and playback is enabled on personal computers
that have appropriate player software (which can, for example, be included
on the CD or can be downloaded over the Internet). Although long-term support
for backward-compatibility with existing CD audio players can introduce
additional security risks, it can be beneficial as part of a longer-term
strategy to encourage the deployment of audio players that can play the new
secure format so that (eventually) content can be sold in only the secure
format.
Example: High-Definition DVD
[0123] The copy protection system employed by current DVD video players has
been widely broken. Because millions of DVD players have already been sold
and are not upgradeable to new protection systems, there is no straightforward
way to upgrade the current DVD format without abandoning support for these
legacy users. Fortunately, the installed base of DVD players are only designed
to support "standard" definition television (e.g., 525-lines for NTSC, 625
lines for PAL, etc.), but not the much higher-quality signals provided by
high-definition television (HDTV) formats. Because legacy players do not
support HDTV, the new security features disclosed herein can be incorporated
on DVDs that support HDTV.
[0124] In one exemplary embodiment, the player would have a user-accessible
media input (consisting of a mechanized tray for one or more discs), which
loads the media to a spindle where it is rotated and read using a laser.
The data read from the media are brought to a microprocessor-based circuit,
which analyzes the disc encoding to determine the capacity of the disc,
formatting type, and security method. If the disc is a legacy (low-resolution)
DVD using the legacy security scheme (CSS), then the disc is played using
methods known in the background art. If the disc is a high-density DVD using
programmable security methods as disclosed herein, then program code (data
processing instructions) for the content's security policies are loaded from
the disc and executed by the player. Players can optionally also support
low-density DVDs using the improved security, as well as high-density DVDs
using legacy protection methods (although using a widely-broken security
scheme for new content generally provides little benefit). The quality of
the output from the DVD player can be controlled by the content. For example,
the content can elect to output lower-resolution output if the player and/or
HDTV output device do not provide adequate security. In this case, the content
can (for example and without limitation) direct the player to down-convert
HDTV signals to lower resolution (for example, using a degradation module
specifically designed for this purpose), supply the player with only the
keys required to decrypt lower-resolution portions of the signal (and withhold
keys required for the higher-resolution portions), or direct the player to
output a low-resolution version of the content that is encoded on the media
separately from the higher-resolution version.
Additional Considerations and Variations
[0125] In an exemplary embodiment, content can be customized for specific
players. In this case, the content is playable only on a single player or
small number of players, but code that is not required for playback on the
recipient device(s) does not need to be transmitted. Thus, this approach
is of particular value when it is difficult, expensive, or slow to send
information to users, e.g. if storage space is limited or of the content
must be sent over a slow network connection. The content can still, however,
query the player to verify that the playback environment is suitably secure.
[0126] To ensure that playback is not interrupted or distorted, it can be
helpful to require specific minimum performance standards for the players'
interpreters.
[0127] In an exemplary embodiment, the systems and methods can be configured
to allow content to be exchanged from one device to another. The specific
security characteristics of such exchanges depend factors such as whether
on-line communication with a trusted (e.g., publisher-operated) server is
available. The form in which the content is transferred depends on the security
policies enforced by the content and the devices' hardware capabilities.
For example, in one embodiment where both devices include secure interpreters,
the sending device transmits the raw encrypted content (as stored on the
original media or encrypted with another key, optionally with watermarks
included) along with code for controlling the playback. The playback control
code can be customized by the sending device for the recipient device. In
another case, the sending device may verify that the security characteristics
of the output port and destination device are acceptable, negotiate a shared
key with the destination device, decrypt and watermark the content, re-encrypt
the content with the shared key, and send the re-encrypted content to the
destination.
[0128] Players with adequate nonvolatile storage can be used to store updateable
code that is called from the interpreter. For example, the player can be
configured to always store the latest security code for a particular publisher.
In this case, if a newer version of the security code is encountered, the
old version will be updated (e.g., after verifying a digital signature on
the new code). In this way, older content can benefit from security updates
carried on new content. (This approach can, for example, be implemented using
the secure memory method described previously.) In another embodiment, content
can require that players include current security updates by obtaining the
current date/time from the player and comparing against the date/time of
the latest known security upgrade. In this manner, content can ensure that
players have reasonably up-to-date security upgrades.
[0129] In general, content protection systems should avoid playing any visible
role in legitimate actions by legitimate users. Nevertheless, some user interface
elements are As necessary, such as for reporting errors or providing information.
In the case where content can select between multiple supported output qualities
(e.g., a "legacy" quality if the player provides inadequate security and
a "high" quality if security is satisfactory), an indicator can be useful
to notify the user of the output quality. For example, in one embodiment,
a green light emitting diode (LED) under the control of the content indicates
that output is of high-quality (i.e., the security is satisfactory), an orange
LED indicates reduced quality (i.e., marginal security), and a blinking red
LED can indicates that no output is provided because the player is revoked.
In another embodiment, a brief spoken or written notice (in the user's language,
if known) is provided to report the status of the security. The decision
whether to report and/or use the higher quality versus the lower quality
output can be based on other factors, such as the presence and/or absence
of a robust and/or fragile watermark. If necessary, a degradation module
can be included with the player to enable the content to reduce the quality
of playback (e.g., to the quality of a legacy format) for security or other
reasons. (Degradation modules can, for example, be included to convert
high-definition television signals to NTSC-resolution or to convert
high-resolution multi-channel audio into 2-channel CD-quality audio.)
[0130] If the media interface and player interpreter offer adequate performance,
bulk decryption and watermark embedding can be handled in the interpreter
instead of in a separate decryption module. Allowing the content to decrypt
itself directly can provide some security benefits, such as ensuring that
attackers will not mount attacks against the decryption module. If the
interpreter performance is adequate, it is also possible to implement the
content decompression in the interpreter as well, avoiding the need to
standardize a single player Codec type.
[0131] While implementation using an interpreter is preferable on platforms
(such as personal computers) that do not have specific hardware support for
the techniques and systems disclosed herein, it is possible to implement
many of the interpreter functions in dedicated hardware. Depending on the
application, dedicated implementations may have cost or power consumption
savings, although provide reduced functionality.
[0132] Embodiments that receive content on physical media can use virtually
any media format. While optical discs (such as CD and DVD) provide high storage
densities at low cost, other storage systems can also be employed, including
without limitation magnetic media, holographic memories, battery-backed RAM,
ROM, EEPROM, and flash memory. The storage capacity of the media can be used
for storing data of many different types, including information related to
the techniques and systems disclosed herein (such as executable programs
that implement decoding methods for various computer platforms, content protected
using methods disclosed herein, etc.) as well as data that is not directly
related to the techniques and systems disclosed herein (such as unrelated
executable programs, unprotected content such as Red Book CD audio, content
protected using other security schemes, etc.).
[0133] Media can include tamper-resistant circuitry for performing cryptographic
computations to enable players to verify that the media is not an unauthorized
copy. Although such capabilities are simplest to implement for media that
use electrical interfaces, even optical media can include cryptographic
capabilities. For example, a contactless cryptographic module (such as the
contactless smart card of U.S. Pat. No. 5,640,306 to Gaumet et al.) can be
affixed to or embedded in an optical disc. While cryptographic media
authentication is preferable, other authentication mechanisms can be employed
instead. For example, general media authentication methods known in the
background art include writing serial numbers to difficult-to-copy locations
(such as regions that are not writeable using commercially recordable media
or drives) and including a digitally-signed "description" of various
characteristics of the original physical media. Of course, cryptographic
mechanisms offer the advantage that, even if attackers discover methods for
compromising existing media, future media can be issued with improved security
without requiring any changes to the player.
[0134] Because many consumers already have an investment in content on legacy
formats, players implementing the techniques and systems disclosed herein
may be configured to support these legacy formats. Similarly, different versions
of the interpreter may be supported by a particular player. In this case,
the player needs to analyze the media or content to identify the appropriate
security system to use. For example, a digital video player might detect
whether the disc is a legacy DVD using CSS (and, if so, select a CSS decryption
system) or is a DVD using the techniques and systems disclosed herein (and,
if so, activate a language-based decryption system). Robust watermarks included
in the content can be used to detect if content that was originally protected
with one security system has been copied to a format lacking the original
protections. For example, content that does not allow copying could include
a watermark to indicate that any devices that encounter a copy in any other
format (e.g., in an unprotected format) can recognize the copy as unauthorized
and (for example) refuse playback.
[0135] The techniques and systems disclosed herein can be used with a wide
variety of content types, including without limitation audio, still images,
video, 3-dimensional images, and 3-dimensional video.
[0136] The techniques and systems disclosed herein can also be implemented
in a variety physical devices. If only one device is responsible for decrypting
content, it is preferable to have security policies enforced by that device.
However, output devices and intermediate processing devices (such an audio
equalizer or mixer), can also benefit from the techniques and systems disclosed
herein and/or by providing query capabilities that can be used by such techniques
and systems to verify their security. In one embodiment, a home entertainment
server downloads, stores, and manages content, and forwards content to playback
devices (speakers, headphones, video displays, etc.) whose security has been
successfully verified. Connections to these devices are encrypted, preferably
under the joint control of the techniques and systems disclosed herein and
the destination device, to prevent theft of content in transit.